
1. 安全说明
重要的安全操作说明,请妥善保存。
UPS 内部存在高温和高压,在设备安装、操作和维护过程中,必须遵守所在地的安全规范和相关的操作规程,否则可能会导致人身伤害或设备损坏。手册中提到的安全注意事项只是作为当地安全规范的
补充,本公司不承担任何因违反通用安全操作要求或违反设计、生产和使用设备安全标准而造成的责任。
注意事项
1. 即使 UPS 没有和市电连接,它的电源输出端仍可能有 220V 交流电压输出!
2. 为确保用户的人身安全,本系列电源产品必须有良好的接地保护。在使用之前首先要可靠接地。
3. 电池线或电源线若需要更换请向本公司服务站购买原材料,以避免因容量不足而造成发热或打火,引起火灾!
4. 不能用火对电池或电池组处理,否则会爆炸伤人。勿将电池打开或损坏,溢出的电解液具有很强的毒性,对人体有害!
5. 请避免电池正负极短路,否则会导致电击或者着火!
6. 请勿自行打开 UPS 主机外盖,有触电危险!
7. 触摸电池前要检查有无高压电
8. 使用环境及保存方法对本产品的使用寿命及可靠性有一定影响,因此请注意避免长下列工作环境中使用。
◆ 超出技术指标规定(温度0℃-40℃, 相对湿度5%-95% )的高低温和潮湿场所。
◆ 阳光直射或靠近热源的场所。
◆ 有振动易受撞的场所。
◆ 有粉尘腐蚀性物质盐份和可燃性气体的场所。
9. 请保持进排气孔的通畅,进排气孔的通风不畅会导致 UPS 内部的温度升高使机器中元器件的寿命缩短,从而影响整机寿命。
主要特征
概述
本公司的该系列 UPS 为智能型 UPS,产品容量覆盖 60kVA 到 80kVA 之间的各个功率段,方便用户灵活配置。该系列 UPS 几乎可以完全解决所有的电源问题,如断电、市电高压、市电低压、电压瞬间跌落、减幅振
荡、高压脉冲、电压波动、浪涌电压、谐波失真、杂波干扰、频率波动等电源问题。
本产品适用范围广泛,从计算机设备到通信系统以及自动设备都可以使用。
功能和特点
◆ 三进三出 UPS
该系列 UPS 是三进三出(三进单出)型 UPS,输入电流三相均衡,可以均衡三相电网的负荷。
◆ 数字化控制
该系列 UPS 各部分架构全部采用数字化控制,UPS 各项性能指标都非常优异,系统稳定度高,具备自我保护和故障诊断能力,同时也避免了模拟器件失效带来的风险,使得控制系统更加稳定可靠。
◆ 外接电池数量可选(32-40 节可选,特殊电池数量要求可依据客户需求订制)
该系列 UPS 工作的外接电池数量,可以根据用户需要选择不同的节数:32~40 节。
◆充电电流可设定
该系列 UPS 可通过设置用户配置的电池容量,自动分配合理的充电电流。恒压充电模式、恒流充电模式和浮充模式能自动平滑的切换。
◆智能充电方式
该系列 UPS 采用先进的两段式三阶段充电方法,第一阶段大电流恒流充电,快速回充约 90%的电量;
第二阶段恒压充电,可以活化电池特性并将电池完全充饱;第三阶段浮充模式。这样可以很好的兼顾快速充电与延长电池使用寿命的目标,节约用户电池投资。
◆LCD 显示
该系列 UPS 采用 LCD 和 LED 双重显示,使用户更直观地了解 UPS 的工作状态和运行参数如输入/输出电压和频率负载大小电池容量机内温度等,使所有操作一目了然。
◆智能监控功能
该系列 UPS 当选配 SNMP 卡时,可以实现对 UPS 的远程监控。
◆EPO 功能
UPS 单元后面板上嵌入一紧急关机(EPO)按键接口,用户可以外接 EPO 按键。在紧急情况下按下 EPO按键就可以紧急关机;并且具有远程紧急关机(REPO)功能。
3. 安装
初步检查
安装 UPS 前请先执行如下的初步检查:
1. 检查本机器是否是您所要购买的机型。
2. 打开 UPS 机柜的包装,检查机器是否在运输中损坏。如发现损坏或部件缺少,请勿开机并告知承运商和经销商。
产品外观图
60-80k



注意:内置电池机型后面板具备电池开关,开关合上时电池方可供电;若外接电池使用
时,则须断开电池开关,通过电池接线端子连接外置电池,避免内外电池不同时使用,影
响电池寿命!
LCD 面板

(1)LED 灯(从上到下分别为“告警”、“旁路输出”、“电池输出”、“市电输出”)
(2)LCD 显示屏 (3)循环键 (4)关机键 (5)开机键(冷启动按键)
安装须知
注意:为了方便操作与维修,安置该系列 UPS 机柜时,机柜前后门应分别留足 120CM、80CM 的空间。
◆请在干净、平稳的环境中安装 UPS,避开震动、灰尘、高湿、可燃性气体、可燃性液体或腐蚀性物质环境。如果有必要避免室内温度升高,则需要在房间增加排风机,将热空气排到室外。
当 UPS 运行在满是灰尘的环境中时,可增加空气过滤器。
◆UPS正常工作时的环境温度要求在0℃-40℃之间。如果工作在40℃以上的环境下,要求最大负载量每增加5℃,递减12%额定值。UPS工作时的最高环境温度要求不超过50℃。
◆机器若是在低温度下拆装使用,可能会有水滴凝结现象,一定要等待机器内外完全干燥后才可安装使用,否则有电击危险。
◆温度是决定电池寿命和容量的主要因素,正常使用中电池温度应维持在15℃和25℃之间。务必使电池远离热源以及空气主入口等。
警告!
通常电池厂商提供的电池的工作温度值在20℃ 到25℃之间。超过25℃会降低电池寿命,而低于20℃会降低电池容量。
◆如果电池不需要立即使用,应该先存储在机柜里,以防止电池受潮或受热。
注意:
不使用的电池务必每六个月重新充电一次。可通过临时连接UPS到适合的市电给电池充电
◆UPS满载正常运行时的海拔高度不应高于1500米,如果在高海拔地区使用UPS,请减载使用。各海拔高度正常运行对应的负载量如下表所列:
(负载系数=高海拔地区正常运行最大负载÷UPS标称功率)

◆该系列 UPS 采用风扇强制冷却,安装场地必须通风良好。UPS 前、后门板有网状通风口,不能有障碍物挡住门板。
◆利用一根标准的RS232通讯线,一端接在该系列 UPS监控模块的RS232端口上,一端接在计算机的RS232端口上。在计算机上安装本公司相应的监控软件后,可实现计算机对UPS的监控。
外部保护装置
考虑到安全因素,有必要在 UPS 系统外部安装断路装置以保护市电供应和电池(当使用外部电池时)考虑到每个安装有其自身的特点,本章仅作为有当地电路安装实践的授权安装者的指导。
◆外部电池
通过在电池附近安装一个直流热电磁断路器(或熔丝断装置),保护UPS和与其连接一起的电池不受过流的影响。
◆UPS 输出
每个用于输出分布的外部分配板都应该安装保护设备,用来保护UPS过载特性。
◆过流
市电输入的分配板应该安装保护装置,而且这装置能够区分电力电缆的流量和系统的过载量。 注意:可以选用符合 IEC 60947-2 表格 2.1 中所示过载 125%工作曲线的热断路器。 电源线
◆电缆的设计符合这部分所描述的电压和电流的要求,符合当地根据环境条件的配线(温度和自然条件)。
警告!
开始前,请确保你的位置和操作对象是连接 UPS 输入/旁路供应和市电分配板的外部绝缘体。检查这些供应是电绝缘的,并张贴必要的警告标志,以防止疏忽操作
◆为便于后期扩容,建议初始安装输入输出电力电缆时,按最大容量来配置。建议使用的线径如下表:

保护地接电缆:机器各个部分与接地系统地必须以最短线路连接。接地导线尺寸应该根据交流电供
应的故障等级、电缆长度和保护类型确定。
警告:无接地可能导致电磁的干扰或触电和火灾的危险。
电源线连接
一旦设备最终可靠的安装好,请按照如下描述的步骤连接电源线。
检查 UPS 设备是否与外部电网完全隔离,UPS 的输入/输出空开是否完全打开。检查输入电源线间是否电气绝缘,张贴必要的警告标识以防疏忽操作。
将接线排挡板拆开,以便进行接线。
60-80k

接线上排接线顺序从左到右为:输入/旁路L1相,输入/旁路L2相,输入/旁路L3相,输入/旁路 N线
接线下排线顺序从左到右为:地线,输出L1相,输出L2相,输出L3相,输出 N 线,电池正,电池 N,电池负。
选择合适大小的电缆线(见电缆线径表);注意电缆线的接线端子孔径应大于或等于接线柱的直径;采用正确的配电方式。

警告!
如果负载设备不准备接收电能,确保与 UPS 系统输出电缆终端是安全绝缘的连接所有需要接地的电缆到机器的接地铜排上,并与安全大地连接。
地接和零线的连接排必须符合当地和国家的实际要求。
UPS 电池连接
该系列 UPS 采用正负双电池架构,共 32(36/40 可选)节串联而成,第 16(18/20)节阴极与 17(19/21)节阳极相连处引出一根中线,与电池组的正端及负端共三根线和 UPS 相接。电池组的正端与电池组中线之间
的电池称为正电池,电池组的负端与电池组中线之间的电池称为负电池。用户可根据需要选择电池的容量和组数。
长机外接电池示意图:

说明:
BAT+接到正电池的阳级、BAT-N 接到正电池的阴极和负电池的阳极、BAT-接到负电池的阴极。长机系列电池节数出厂设置为 32 节,电池容量出厂设置为 65Ah(充电电流为 9.75A)。当连接 36/40
节电池时,请在市电模式开机设置相应的电池节数;并设置相应的电池容量,充电电流根据电池容量自动 分配充电电流。通过 LCD 面板或监控软件来实现相关设置。
警告!
1、确保极性的连接正确,正确接法是每块电池间正极连接到负极。注意:不同厂家,不同型号,不同新旧的电池不能混用。
2、确保连接到电池电路断路器极性正确,以及电池电路断路器到 UPS 电池连接处的极性正确,顺序为(+)到(+)/(-)到(-)。在工程师来之前,断开其中一个或多个电池间的连接线,不要连接它们,并且不要闭合电池断路器。
并机系统UPS 的装配
由两台或多台 UPS 单机组成的并机系统的基本安装步骤同单机的安装相似。下面一段仅介绍并机系统安装的步骤。
并机UPS 装配
按照下图放置 UPS 单机,并使它们互相连接。

确认 UPS 的输入空开均置于断开状态且 UPS 无输出。并机的电池组可以分开连接,也可以共用。
警告!
确保 N、A、B、C 线正确,接地良好
并机电缆的装配
如下图所示,每台 UPS 都装有并机控制板,并机的 UPS 间必须用双重绝缘的屏蔽控制电缆连接成环形回路,因为闭环连接能更有效的进行控制。

并机系统的装配要求
一组并机系统相当于一台大容量的 UPS,但具有更高可靠性。为了确保所有 UPS 单机均流供电,且遵守相关的配线规则,需符合下列要求:
1) 所有 UPS 必须是同样的额定且连接到同路电源。
2) 所有的 UPS 单机的输出必须连接到一个共同的输出母线。
3) 所有旁路输入电缆和 UPS 输出电缆应该保持同样的长度和规格,这是为了使机器运行于旁路模式时比较均流。
连接计算机
◆将 USB 线一端与计算机连接,另一端与 UPS 上 232 接口连接器连接。
◆打开 Muses4000 软件,点击“系统”按钮;

◆出现如下“软件参数设置”窗口,“通讯串口”选择连接 UPS 的计算机串口,“波特率”选择“9600”,“通讯协议”选择“modbus”,点击“保存设置”;

◆在 Muses4000 软件主界面点击“添加”按钮,出现“添加要监控的设备”窗口;

◆“设备名”填入 UPS 名称,设备地址为 UPS 的 ID;

◆点击“添加”即完成计算机与 UPS 的连接。
注意:
逆变供电情况下,PC 设置电压及频率等级时需要先关闭逆变。
UPS操作说明
运行模式
该系列 UPS 是一种在线的双转换的 UPS,它有下面几种可选的运行模式:
◆正常模式
UPS 由逆变器持续供电,整流器将市电转换为直流源供给逆变器,同时,通过电池充电器对电池进行均充或浮充。
◆电池模式(储能模式)
当市电掉电时,通过电池放电,逆变器不间断的给负载供电,在市电掉电或市电恢复发生时,正常模式与电池模式之间的切换是完全自动而不需要任何人为介入的。
◆旁路模式
如果逆变器发生故障或逆变器过载,且逆变与旁路同步时,静态开关将会发生动作,将系统由逆变供电不间断的转为旁路供电。如果逆变与旁路不同步,系统将会通过静态开关由逆变供电间断切换到旁路供电。
间断时间在 25 ms 内。
◆经济模式
在市电供电模式下,如果负载对供电质量要求不高,为提高供电效率,可以设置 UPS 工作在经济(ECO)模式,UPS 将转为旁路供电。当市电超限时,UPS 转为电池逆变供电,LCD 显示屏会显示相关信息。
◆并机冗余模式(系统扩展)
为了获得更高的输出容量和更佳的可靠性,可以将多达 10 台 UPS 单机的输出直接并联到一起,每台机子平均输出功率。
◆维修模式(手动旁路)
当 UPS 内部发生故障而进行维修时,为了对负载的持续供电可以切换到手动旁路模式,且手动旁路能够承受相应的额定满载。
开启与关闭UPS
自动重启程序
注意:确保正确的接线
◆ 将电池断路盒开关拔到厂商说明书描述的闭合的位置
◆ 闭合电源开关

在这个过程中输出终端可被使用(此处图片仅供参考,实际接口位置以实机伟准)。
如果负载设备连接到 UPS 的输出端,请检查负载是否安全接入。如果负载不准备接收电能,请确保负载安全地脱离 UPS 的输出端。
◆ 闭合UPS输入开关

当主路输入电压在主路范围内时,在 30S 内整流器启动完毕,随后逆变器启动完毕。
◆ 闭合输出开关
当功率模块的整流器没启动时,旁路灯亮,当逆变启动时,UPS 从旁路模式转到逆变输出,旁路灯灭,逆变灯亮。
无论 UPS 是否正常运行,显示屏都可以显示消息。
测试程序
注意:UPS 正常运行。
系统启动和自检约需等待 60 秒钟
◆断开主路输入开关模拟市电掉电,关闭整流器而由电池不间断供给逆变器。此时,电池指示灯亮.
◆闭合主路输入开关模拟市电输入,整流器在 20 秒后将自动重启,并给逆变器供电,模拟测试输出负载可以达到 UPS 最大输出功率。
维修旁路
为了更高的有效性,UPS内部有一个手动的旁路系统,UPS电能直接由维修旁路提供市电给输出,而不经过UPS内部。
注意!
当内部手动旁路系统激活时,UPS不对负载进行保护,而由市电无条件的供电。
注意!
如果UPS正在运行并且能够通过显示屏进行控制,执行1到5步。如果不是,直接执行第四步。
◆打开维修开关的档板,UPS将自动转旁路模式
◆闭合维修旁路开关
◆断开电池开关
◆断开主路输入开关
◆断开输出开关
此时旁路电源通过维修开关向负载供电。
切换到正常操作(从手动旁路操作)
注意!
在未核实UPS内部无故障前千万不要试图闭合开关让UPS切回正常运行状态。
◆闭合输出开关
◆闭合输入开关
UPS由静态旁路而非维修旁路供电,旁路指示灯亮
◆断开维修开关
此时输出由UPS的静态旁路供电
◆加上维修开关档板
UPS检测到维修模式结束。大约过30秒,整流器进入正常运行状态。如果逆变器已经准备好,系统将由旁路模式切换到正常模式。
冷启动程序
注意!
当输入市电不正常,且电池正常时使用此程序. UPS关机
◆闭合电池开关.
电池给辅助电源板供电.
◆闭合输出开关
◆闭合电源开关(给辅助电源板供)

◆触发冷启动按钮(如下面板图位置5)

当电池正常时,整流器开始工作,大约30秒后,逆变器启动完毕后,电池灯亮.
注意!
闭合电池开关后30秒按冷启动按钮。 完全关机程序按照这个程序可以完整地关闭 UPS 和负载。将所有电源开关,绝缘体和电路断路器打开之后将没有输出电源。
◆ 断开电池开关;
◆ 断开 UPS 的输入开关;
◆ 断开输出开关,UPS 关闭;
◆ 为完全隔离交流电的供应,主路外部的电网输入开关也要断开(包括分离旁路接法使用的所有开关);
◆ 主输入分配板通常远离 UPS 区,要在其上面张贴标签告示服务人员 UPS 电路正在维修中。
◆ 5 分钟后内部直流母线电容将放电完毕
设置并机
◆ 将机器与电脑连接,上电开机;
◆ 打开Muses4000软件,待与机器连接成功后,点击“系统”->“用户设置”;

◆在用户设置量界面,点击“设置”;

◆ 在数据设置界面里点击“工作模式”,然后在右边点击下拉框,选择“Parallel”(并机模式),
最后点击“设置”确认,如下图所示。如听到机器发出“滴”一声,表示设置成功;

◆ 在数据设置界面里点击“并机系统ID”,然后在右边“数值”框里输入并机ID,例如“1”,最后点
击“设置”确认,如下图所示。如听到机器发出“滴”一声,表示设置成功;

更改并机系统 ID 之后,可能会断开 Muses4000 与机器的连接,需要根据实际情况重新连接机器
注意:
设置并机参数的时候需要断开并机连接线
◆ 配置好所有需要并机的机器后,下电关闭所有UPS,按“并机的配线”连接机器后,然后上电开机。
显示界面
界面说明

(1)LED指示灯(2)LCD液晶(3)循环键:进入下一项目(4)OFF键:关机键(5)ON键:开机
注:以上按键维持1s有效
简介
注意! 显示屏提供了本手册中描述的更多功能(显示屏共有 17 个界面)

1) 上市电开机或电池冷启动开机时,会出现第一个界面,具体如图所示:

1 .运行状态码及运行模式(单机)(单机模式下显示“NOR”,或者“ECO”,并机模式显示“PAL”)
2) 按循环键,UPS 将依次出现下一个页面,具体如图所示:




以上部分界面如果有电池充电,则同时显示充电信息,如下图所示

3) 在最后一个界面按循环键,UPS 将重新显示第一个界面。
4) 警告信息页面只在有警告的时候才会出现。
参数设置(旁路状态下)
页面设置功能由三个按键控制(Enter键 、上键Off、下键On),其控制方法为:Enter键进入设置
界面和设置数值调整,上下键进行与页的功能设置选择。
正常开机绿灯亮后,按0ff键转旁路,同时按Enter键 和上键ON并维持2s以上进入设置页面主菜单。
注:面板上左下角的数值为设置页码。
模式设置

进入设置页面主菜单后,系统默认为模式设置,此时模式设置行闪烁上图所示,当Enter键 按下时模式循环选择(如从ECO→NOR),模式选择有三种:ECO、PAL、NOR,当上下键按下时退出模式设置
( 保存模式设置)并切换到输出电压设置行或者并机冗余台数设置。
输出电压设置

在模式设置下按下下键 On 时或者在频率设置下按下上键 Off 时进入输出电压设置,此时输出电压行闪烁如上图所示,当 Enter 键 按下时输出电压设置循环选择(如从 220→230),
输出电压范围有 220、230、240,当上建或者下键按下时退出输出电压设置(保存输出电压设定值)并切换到模式设置或者频率设置。
注意:
逆变供电情况下,设置电压及频率等级时需要先关闭逆变。
频率设置

在输出电压设置下按下下键 On 或者在电池容量设置下按下上键 Off 时进入频率设置,此时频率设置行闪烁如上图所示,当 Enter键 按下时频率设置循环选择(如从 50→60),
频率选择范围有 50、60Hz,当上键或者下键按下时退出频率设置(保存频率设置值)并切换到输出电压设置或者电池容量设置。
注意:
逆变供电情况下,设置电压及频率等级时需要先关闭逆变。
电池容量设置

在频率设置下按下下键 On 或者在电池节数设置下按下上键 Off 时进入电池容量设置,此时电池容量闪烁如上图所示(注意 Ah 显示的是电池容量的单位),当 Enter 键 按下为电池容量循环设置(注:长按
Enter键可以快速调节电池容量值),容量范围为 1~1000Ah,当上键或者下键按下时退出电池容量设置(保存电池容量设置值)并切换到频率设置或者电池节数设置。
电池节数设置

在电池容量设置下按下下键 On 或者在旁路电压上限设置下按下上键Off 时进入电池节数设置,此时电池节数闪烁如上图所示,当 Enter 键 按下为电池节数循环设置,电池节数的范围为 32、36、
40,当上键或者下键按下时退出电池节数设置(保存电池节数设置值)并切换到电池容量设置或者旁路电压上限设置。
旁路电压上限设置

在电池节数设置下按下下键 On 或者在旁路电压下限设置下按下上键 Off 时进入旁路电压上限设置,此时旁路电压上限值闪烁如上图所示,当 Enter 键 按下为旁路电压上限循环设置,旁路电压上限范围为
5%、10%、15%、25%(25%等级设置仅限 220V 输出模式),当上键或者下键按下时退出旁路电压上限设置(保存旁路电压上限值)并切换到电池节数设置或者旁路电压下限设置。
旁路电压下限设置

在旁路电压上限设置下按下下键 On 或者在并机 ID 设置下按下上键 Off 时进入旁路电压下限设置,此时旁路电压下限值闪烁如上图所示(注:-号表示负数,正数没有符号),当 Enter 键 按下为旁路电压下
限循环设置,旁路下限范围为 20%、30%、45%,当上键或者下键按下时退出旁路电压下限设置(保存旁路电压下限值)并切换到旁路电压上限设置或并机 ID 设置。
蜂鸣器静音设置

在旁路电压下限设置下按下下键 On 或者在并机 ID 设置下按下上键 Off 时进入蜂鸣器设置,此时设置状态闪烁如图 14 所示(注:on 表示静音,off 表示无静音),当 Enter 键 按下为静音循环设置,静音选
择有 ON,OFF,当上键或者下键按下时退出静音设置(保存静音设置状态)并切换到旁路电压下限设置或并机 ID 设置(注意:当在单机模式下按下下键时退出并保存设置内容此时单机数据设置完毕)。
并机 ID 设置

在旁路电压下限设置下按下下键 On 或者在并机台数设置下按下上键 Off 时进入并机 ID 设置,此时并机 ID 闪烁如上图所示,当 Enter 键 按下为并机 ID 循环设置,并机 ID 范围为 1~4,
当上键或者下键按下时退出并机 ID 设置(保存并机 ID 设置值)并切换到旁路下限设置或者并机台数设置。
注意:
设置并机参数的时候需要断开并机连接线。
并机台数设置

在并机 ID 设置下按下下键 On 或者在并机冗余台数设置下按下上键 Off 时进入并机台数设置,此时并机台数闪烁如上图所示,当 Enter 键 按下为并机台数循环设置,并机台数范围为 2~4,当上键或者下键
按下时退出并机台数设置(保存并机台数设置值)并切换到并机 ID 设置或者并机冗余台数设置。
并机冗余台数设置

在并机 ID 设置下按下下键 On 或者在并机冗余台数设置下按下上键 Off 时进入并机台数设置,此时并机台数闪烁如上图所示,当 Enter 键 按下为并机台数循环设置,并机台数范围为 2~4,当上键或者下键
按下时退出并机台数设置(保存并机台数设置值)并切换到并机 ID 设置或者并机冗余台数设置。
并机冗余台数设置

在并机台数设置下按下下键On时进入并机冗余台数设置,此时并机冗余台数闪烁如上图所示,当Enter键 按下为并机冗余台数循环设置,并机冗余台数范围为0~9(设置数小于并机台数),当上键Off
按下时进入并机台数设置或者当下键On按下时退出设置模式此时UPS面板设置完毕。
显示信息/记录
本段列出了UPS可能发生的事件消息和报警消息,消息以字母为序排列,本段列出了所有的报警消息以帮助你解决问题。
显示信息
运行状态码及运行模式

注:“X”表示需根据其它条件确定。
警告信息


选件
SNMP卡:
◆松开两个螺丝 (在卡的两边). ◆小心的把卡拉出,安装卡的方法与之相反
被称为SNMP的插槽支持MEGAtec协议.我们建议NetAgent II-3端口也作为远程监控和管理UPS系统的工具。

NetAgent II-3端口支持调制解调器拨号功能,当网络不通时可通过此端口拔号上网完成因特网远程控制。
另外,NetAgent Mini还有一个特点,NetAgent II还可通过连接环境侦测主机,能探测到温度,湿度,烟雾,还可以连接安全传感器。因此,可以把NetAgent II作为一个万能管理工具。NetAgent II支持多种语言,
可基于网络的语言而自动改变。

继电器卡
该卡为UPS外围监控提供干接点(dry-contact)界面,以接点讯号来反映UPS运行状态。通过DB9母头与外围的监控设备相连接起来,方便对UPS的实时状态进行有效的监控以及在UPS出现状况的时候(诸如UPS故
障、市电中断、UPS旁路等)及时的将状况信息反馈给监控者;安装于机器的智能插槽。继电器卡包括六个输出端口和一个输入端口配合该系列UPS使用,详细见下表

DB9 接口:连接上位监控端,其接口脚位定义如下图:


附录1 性能指标

附录2 常见问题及处理
UPS 在使用过程中失去正常功能,有可能是由于安装、配线或使用方面出现错误,请用户首先检查这三方面。若确认无误,请联系公司的客服中心。请同时提供以下资料:
(1) 产品的型号和序列号。
(2) 发生故障时尽可能详细的故障现象(LCD 屏显示信息、指示灯状态等)。
详细阅读本使用手册对用户正确使用本 UPS 有很大的帮助。为方便用户使用,下面列出了一些常见问题的处理方法,以供参考。

附录3 USB通信接口说明
端口定义Male:

计算机的USB与UPS的USB的连接关系

USB通讯方式提供下列功能:
◆监测UPS当前供电状态。
◆监测UPS当前告警信息。
◆监测UPS当前运行参数。
◆对UPS作定时开关机控制并进行系统设置。
通讯数据格式:
波特率-----------------9600bps
字节长度-----------------8bit
结束位------------------ 1bit
奇偶校验-----------------无
注意:
USB、RS232 和 RS485 接口不能同时使用,只能使用其中一个接口!
附录4 RS-232通信接口说明
端口定义Male:

计算机的RS-232与UPS的RS-232的连接关系

RS-232通讯方式提供下列功能:
◆监测UPS当前供电状态。
◆监测UPS当前告警信息。
◆监测UPS当前运行参数。
◆对UPS作定时开关机控制并进行系统设置。
RS-232通讯数据格式:
波特率-----------------9600bps
字节长度-----------------8bit
结束位------------------ 1bit
奇偶校验-----------------无
注意:
USB、RS232 和 RS485 接口不能同时使用,只能使用其中一个接口!
附录5 RS-485通信接口说明
端口定义Male:

连接RS-485的设备与UPS的RS-485的连接关系

RS-485通讯方式提供下列功能:
◆监测UPS当前供电状态。
◆监测UPS当前告警信息。
◆监测UPS当前运行参数。
◆对UPS作定时开关机控制并进行系统设置。 另RS-485通讯在UPS(DB9 母座)对应的为Pin 1(A),Pin 5(GND),Pin 6(B)
注意:
USB、RS232 和 RS485 接口不能同时使用,只能使用其中一个接口!
附录6 电池温度补偿接口说明
端口定义Male:

温度补偿设备的RS-485与UPS的RS-485的连接关系:

电池温度补偿提供下列功能:
◆监测电池温度。
◆通过电池温度来调节浮充电压。
附录7 干接点通信接口说明
端口定义Male:

说明:

干接点通讯方式提供下列功能:
◆ 监测UPS当前供电状态。
◆ 监测UPS当前电池状态。
◆ 对UPS作关机控制。
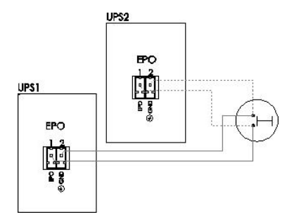
附录8 远程EPO连接说明
端口定义Male:
连接示意图:

按键和EPO接口的连接关系:

远程EPO(紧急关机)提供下列功能:
◆远程紧急关机按键(常开的干接点信号),可以通过导线连接来实现在远程紧急关机功能。
◆可以实现多台UPS同时紧急关机功能。
附录9 接地与防雷保护
低压供电系统的接地和防雷是一项系统工程,UPS的接地和防雷仅是这项系统工程的一部分。根据相关国际国内及行业标准的要求,在电力线引入UPS机房前的交流电力变压器的高压侧和低压侧,均应采取相应
的防雷措施。对引入UPS机房的低压电力电缆的长度和接地方式,机房的避雷,机房的屏蔽及机房的防雷地线等均有严格要求。为确保用户的人身安全,UPS在使用前必须保证可靠接地。即将UPS的保护地
(UPS金属外壳)连接到UPS机房的地线排上,需保证UPS后部端子排上的输入地线端子和机房的地线排可靠相连。另外,UPS机房接 地排的工频接地电阻应符合相关标准的规定。一般宜小于5欧姆。每台 该
UPS都经过了UPS内部接地连续性测试,可以确保UPS内部地线连接的可靠性和安全性。该 UPS具有完善的防雷措施。所用防雷器件均来自国际知名厂家或采用军品级产品。防雷装置严格按照IEC标准设计和安装。
在上述其它低压供电系统防雷措施按规定完成后,完全能将雷电对UPS机房的危害降低到最小程度。根据通流容量和安装位置的不同UPS系统的防雷一般不超过两级。第一级,防雷器一般称为C级防雷器,最大通
流容量为40kA 波形8/20 s 安装在UPS和交流配电单元之间。第二级,防雷器一般称为D级防雷器,最大通流容量为8kA 波形8/20 s 安装在UPS内部。该系列UPS内部安装了标准的D级防雷器并推荐用户选用
OBO B+C级防雷器。用户可以根据UPS机房的实际情况,确定是否选用C级防雷器及其生产厂家,但无论用户选用那种品牌的C级防雷器,C级防雷器和UPS之间必须采用下列所述的接线方式,即UPS的保护地
(UPS金属外壳)和C级防雷地两地合一再统一接到UPS机房的地线排上。
请注意:
1. 进出防雷器的相线L 和中性线N 建议选用铜芯电缆,其横截面积为6-50mm² 。保护地线PE线建议选用25mm²的铜芯电缆,最小不得低于6mm² 。
2. 根据实验结果,我们要求C级防雷箱的入线端与UPS的进线端之间的电缆距离为5 ~10米,并保证这段电缆不会被雷击。距离过短会影响防雷效果。
3. 对于雷击危险很高的应用场合,建议在C级防雷器前端12米或更前的地方安装B级防雷器。用户在获得我公司技术支持后,可自行购买和安装B级防雷箱。
附录10 售后服务
我公司为客户提供全方位的技术支持,请用户首先与供货的经销商联系,无法联系上代理商时,可与就近的客户服务中心或公司总部联系。
1. 用户可通过我公司400免费服务电话获得服务:
2. 网上技术服务
用户可通过Internet访问我公司设立的技术支持网站,寻求技术支持
3. 在正常使用情况下我公司对该系列UPS产品提供三年免费保修服务,对UPS产品(内置电池)提供10个月免费保修服务。以下情况不在我公司免费保修范围内:
■ 由用户自行配置的电池
■ 不按用户手册操作使用造成的机器损坏
■ 由于火灾水灾等造成的机器损坏
■ 购买后因运输移动疏失所导致的损坏
■ 未按相关电气规范供电或现场环境不良所导致的损坏,有关保修的具体事项详见保修条款
4. 为用户有偿提供不同级别的定制服务包,包括快速响应预防性维护,保修期过后的续保服务等。详情请与经销商或我公司各地服务中心联系。
5. 本手册涉及UPS单机及并机系统有关安装及运行资料。在安装前应先阅读本手册的有关章节。
6. UPS必须经厂家或其代理商指定的工程师调试后,才能使用。否则,由此引起的UPS损坏,不属保修范围。本系列UPS只作商业/工业用途,不可用作任何生命支持设备的电源。
7. 由于产品和技术的不断更新、完善,本资料中的内容可能与实际产品不完全相符,敬请谅解,如需查询产品的更新情况,请联系制造商或供应商